Bizi Takip Edin!
Dil Seçimi:

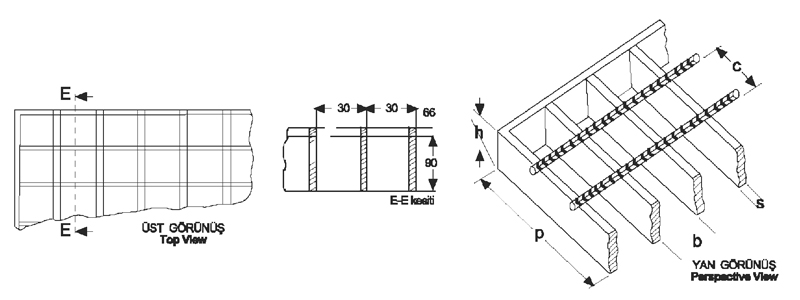
Izgaralar

6 mm çubuktan Platform Izgaraları

Özellikleri

Yüksek kapasitede yük taşıyıcı Kir, Toz, Su ve Yağa Maruz Satıhlarda kullanılabilir. İstenilen ebatlarda Galvanizli ve Galvanizsiz imal edilmektedir.

Galvanizli ve Galvanizsiz İmal Edilmektedir

argen-urunler-izgara-icerik-img2

 

Izgara Bağlantı Elemanları

 

Standart Izgara Ebatlarımız

  • 800x2000 metre
  • 1000x2000 metre
  • 1200x2000 metre
  • 1200x2400 metre

 

Web sitemizdeki çerezleri (cookie) kullanıcı deneyimini artıran teknik özellikleri desteklemek için kullanıyoruz. Detaylı bilgi için tıklayınız.
Tamam